ТБП 120-25-3
Характеристики изделия:
| Параметр | Значение |
|---|---|
| длина | 2610 мм |
| ширина | 1420 мм |
| высота | 1420 мм |
| масса | 3180 мм |
| нормативный документ | ГОСТ 6482-2011 |
Цена:
Рассчитать стоимостьСтандарт изготовления изделия: ГОСТ 6482-2011
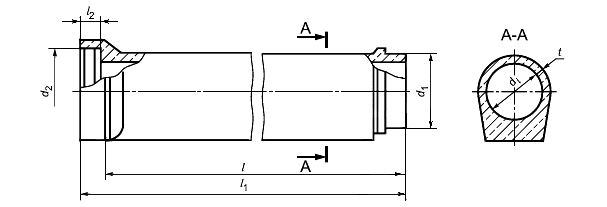
Трубы цилиндрические раструбные безнапорные ТБП 120-25-3 – это бетонные изделия, которые используются для транспортирования различных жидкостей, воздуха или иной субстанции самотеком. Специальный раструб используется для соединения труб между собой. Плотность соединения достигается при обработке стыков герметиком.
Маркировка:
1. ТБП – труба цилиндрическая безнапорная раструбная, уплотняемая герметиками или другими материалами с подошвой;
2. 120 – условный диаметр, указывается в см.;
3. 25 – полезная длина, указывается в дц.;
4. 3 – несущая способность.