ТБП 140-50-3
Характеристики изделия:
| Параметр | Значение |
|---|---|
| длина | 5175 мм |
| ширина | 1620 мм |
| высота | 16200 мм |
| масса | 8500 кг |
| нормативный документ | ГОСТ 6482-2011 |
Цена:
Рассчитать стоимостьСтандарт изготовления изделия: ГОСТ 6482-2011
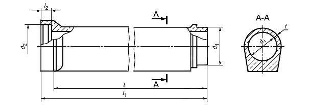
Трубы цилиндрические раструбные безнапорные ТБП 140-50-3 – это бетонные изделия, которые используются для транспортирования различных жидкостей, воздуха или иной субстанции самотеком. Специальный раструб используется для соединения труб между собой. Плотность соединения достигается при обработке стыков герметиком.
Маркировка:
1. ТБП – труба цилиндрическая безнапорная раструбная, уплотняемая герметиками или другими материалами с подошвой;
2. 140 – условный диаметр, указывается в см.;
3. 50 – полезная длина, указывается в дц.;
4. 3 – несущая способность.