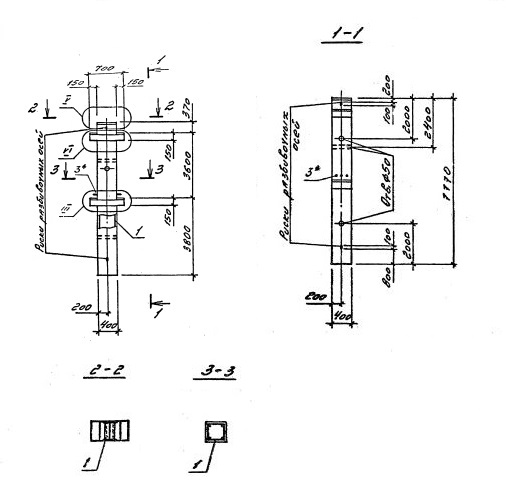
2КБД 36.36

Чертеж изделия:
Характеристики изделия:
ПараметрЗначение
длина7770 мм
ширина400 мм
высота700 мм
масса5200 кг
нормативный документСерия 1.020.1-4

2КБД 36.36     Колонны  бесстыковые двухконсольные (Серия 1.020.1-4).

Маркировка включает высоту этажей (дм), диаметры угловых и промежуточных стержней арматуры (мм), марку бетона:

2КБД 36.36-3.20.00

2КБД 36.36-3.22.00

2КБД 36.36-4.32.00

2КБД 36.36-4.36.00