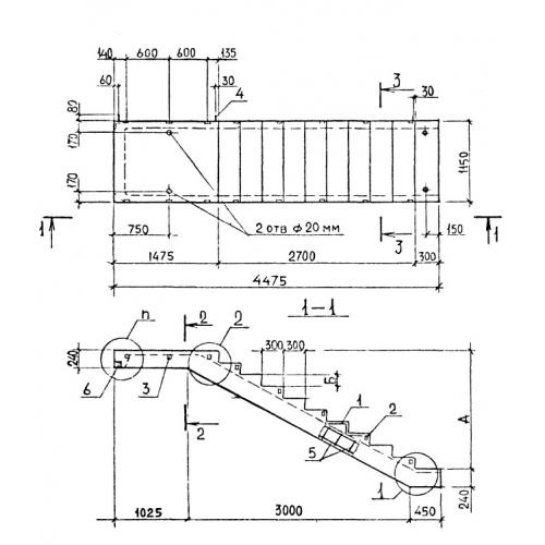
ЛМП 57.11.14 лестничные марши

Чертеж изделия:
Характеристики изделия:
ПараметрЗначение
длина4475 мм
ширина1150 мм
высота1400 мм
масса1900 кг
нормативный документСерия 1.050.1-2

ЛМП 57.11.14  Лестничные марши ребристые с полуплощадками Серия 1.050.1-2