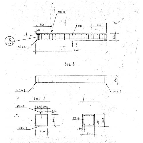
Б 41

Чертеж изделия:
Характеристики изделия:
ПараметрЗначение
длина4100 мм
ширина400 мм
высота400 мм
вес1650 кг
серия1.125 КЛ-3

Б 41 Балки по серии 1.125 КЛ-3.