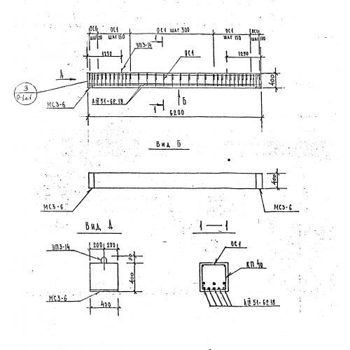
Б 62

Чертеж изделия:
Характеристики изделия:
ПараметрЗначение
длина6200 мм
ширина400 мм
высота400 мм
вес2480 кг
серия1.125 КЛ-3

Б 62 Балки по серии 1.125 КЛ-3.