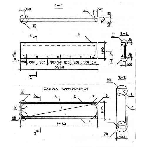
ПРЛ 60.12.3

Чертеж изделия:
Характеристики изделия:
ПараметрЗначение
длина5980 мм
ширина1190 мм
высота300 мм
вес2230 кг
серия1.137.1-6

ПРЛ 60.12.3 Плита лоджий ребристая.  Панели перекрытия лоджий по серии 1.137.1-6.