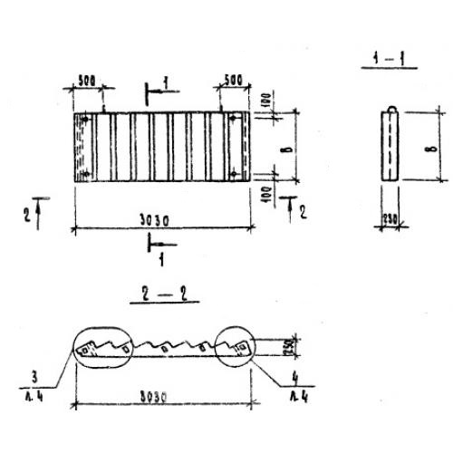
ЛМ 30.11.15 лестничные марши

Чертеж изделия:
Характеристики изделия:
ПараметрЗначение
длина3030 мм
ширина1050 мм
высота1500 мм
масса1480 кг
нормативный документСерия 1.151.1-7

ЛМ 30.11.15  Лестничные марши без фризовых ступеней Серия 1.151.1-7.