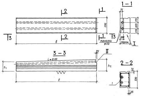
ПНВ 60.6.25-2я
Характеристики изделия:
| Параметр | Значение |
|---|---|
| Длина | 5970 мм |
| Ширина | 590 мм |
| Высота h1 | 250 мм |
| Высота h2 | 370 мм |
| Масса | 780 кг |
| Нормативный документ | Серия 1.165-9 |
Цена:
Рассчитать стоимостьСерия 1.165-9
Панели покрытий
Однослойные ячеистобетонные для бесчердачных крыш жилых и общественных зданий с шагом несущих стен 4,2-7,2 м.
ПНВ 60.6.25-2я
Панель переменной толщины под расчетную нагрузку 200 кгс/м² (без учета собственного веса).
1. ПНВ - плита наклонная вентилируемая;
2. 60 - длина в дм;
3. 6 - ширина в дм;
4. 25 - толщина в см;
5. 2 - нагрузка;
6. я - ячеистый бетон.