К 32

Чертеж изделия:
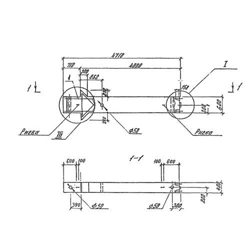
Характеристики изделия:
ПараметрЗначение
длина4710 мм
ширина400 мм
высота1140 мм
вес2900 кг
серия1.421.1-1.93

К 32 Колонны по серии 1.421.1-1.93.