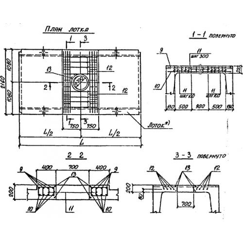
Ло 22/2

Чертеж изделия:
Характеристики изделия:
ПараметрЗначение
длина2970 мм
ширина2160 мм
высота1640 мм
вес5450 мм
серия3.006-2

Ло 22/2 Лотки теплотрасс с отверстием  по серии 3.006-2.