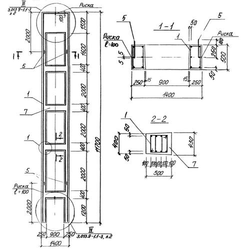
2КД 12 колонна крайняя

Чертеж изделия:
Характеристики изделия:
ПараметрЗначение
длина11700 мм
ширина500 мм
высота1400 мм
масса10850 кг
нормативный документСерия 3.013.9-1

2КД 12  Колонны двухветвевые Серия 3.013.9-1.