К 13

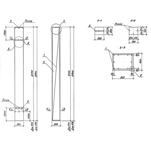
Чертеж изделия:
Характеристики изделия:
ПараметрЗначение
длина8100 мм
ширина500 мм
высота400 мм
масса4100 кг
нормативный документСерия 3.015-16.94

К 13  Колонны бетонные Серия 3.015-16.94.