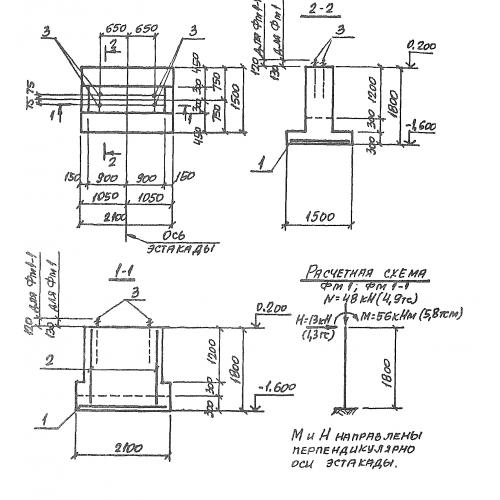
Фм 1

Чертеж изделия:
Характеристики изделия:
ПараметрЗначение
длина2100 мм
ширина1500 мм
высота1800 мм
масса6500 кг
нормативный документСерия 3.016.2-12

Фм 1  Фундаменты монолитные Серия 3.016.2-12.