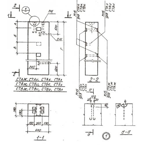
С 7 Б столб забора

Чертеж изделия:
Характеристики изделия:
ПараметрЗначение
длина2400 мм
ширина380 мм
высота640 мм
масса1400 кг
нормативный документСерия 3.017-1

С 7 Б   Столбы оград Серия 3.017-1.