БП 50

Чертеж изделия:
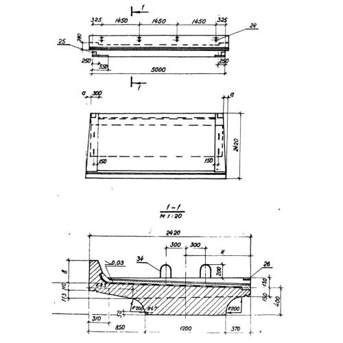
Характеристики изделия:
ПараметрЗначение
длина5000 мм
ширина2420 мм
высота813 мм
вес11700 кг
Серия3.501.1-146

БП 50 Балки с пониженной строительной высотой по  Серии  3.501.1-146.