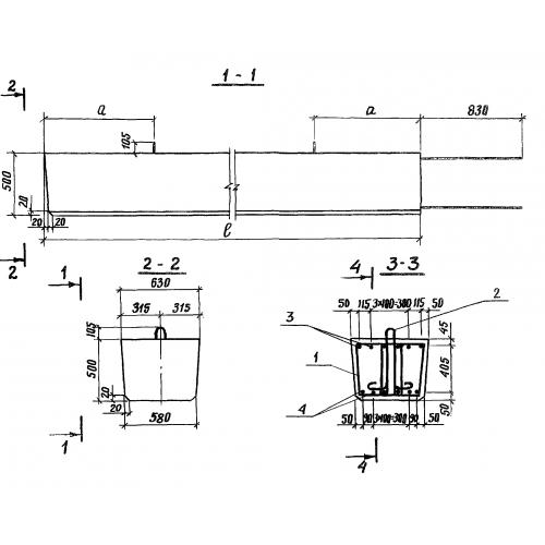
Л-1

Чертеж изделия:
Характеристики изделия:
ПараметрЗначение
длина5630 мм
ширина630 мм
высота500 мм
вес3800 кг
серия3.503.1-53

Л-1 Блоки лежня по серии 3.503.1-53.