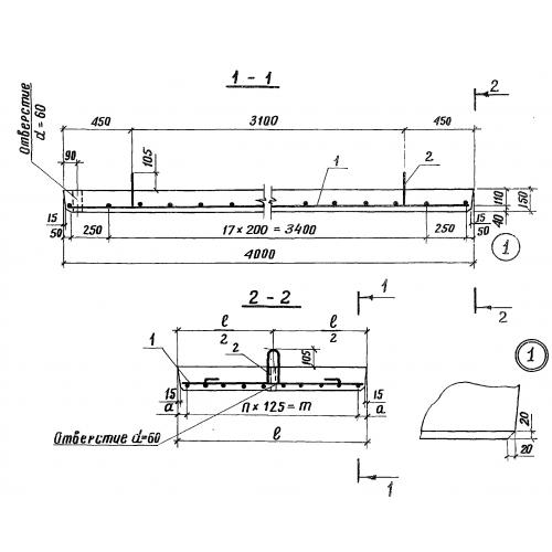
П-2

Чертеж изделия:
Характеристики изделия:
ПараметрЗначение
длина4000 мм
ширина1240 мм
высота150 мм
вес1800 кг
серия3.503.1-57

П-2 Блоки переходной плиты по серии 3.503.1-57.