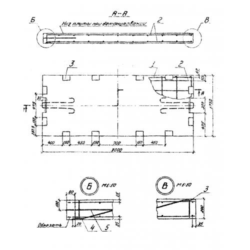
2ПО 20

Чертеж изделия:
Характеристики изделия:
ПараметрЗначение
длина3000 мм
ширина1250 мм
высота200 мм
вес1900 кг
серия3.505.1-16

2ПО 20 Плиты омоноличенные по серии 3.505.1-16.