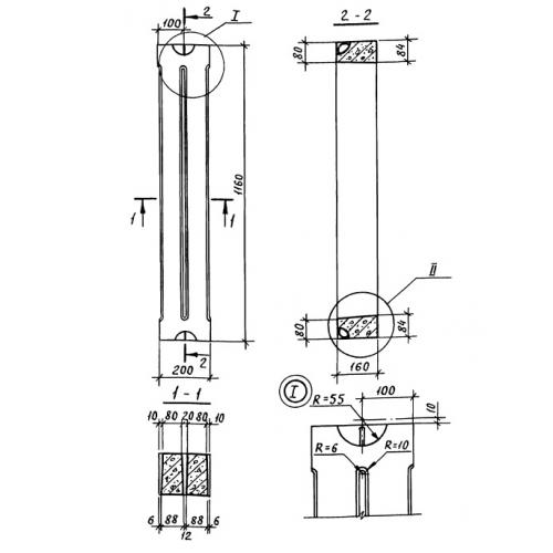
ПР 20.116.16

Чертеж изделия:
Характеристики изделия:
ПараметрЗначение
длина1160 мм
ширина200 мм
высота160 мм
вес80 кг
шифрВ 019

ПР 20.116.16 Плиты решётчатые по Шифру В 019.