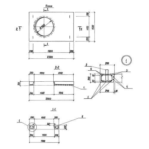
П 7

Чертеж изделия:
Характеристики изделия:
ПараметрЗначение
длина2300 мм
ширина1500 мм
высота200 мм
вес1350 кг
серияТПР 902-09-22.84

П 7 Плиты по проекту ТПР 902-09-22.84.