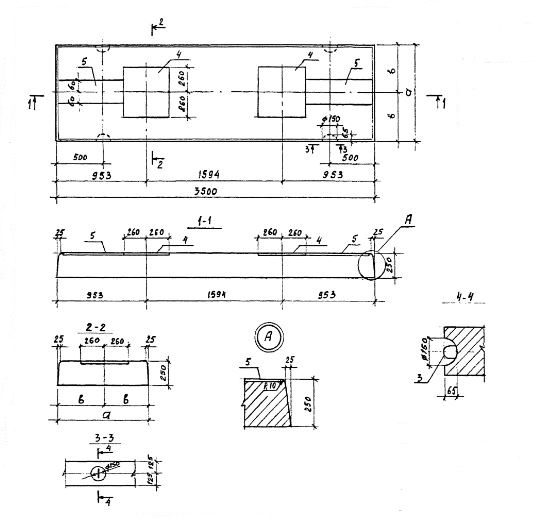
НСП 35.15

Чертеж изделия:
Характеристики изделия:
ПараметрЗначение
длина3500 мм
ширина1500 мм
высота250 мм
вес3280 мм
серияТП 13362тм

НСП 35.15 Плита фундамента для установки трансформаторов напряжением 35-500 кВ без кареток (катков) и рельс по проекту ТП 13362тм.