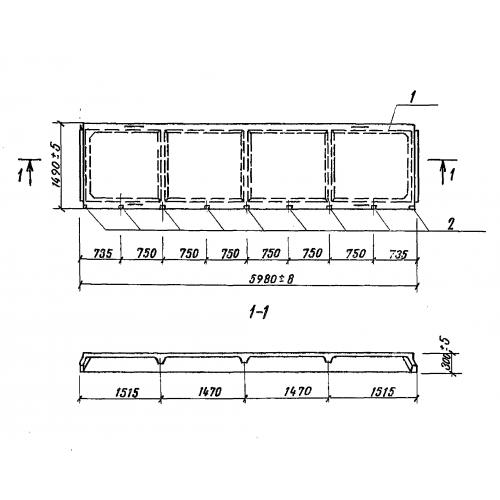
П 60.15 Плита

Чертеж изделия:
Характеристики изделия:
ПараметрЗначение
длина5980 мм
ширина1490 мм
высота300 мм
масса1500 кг
нормативный документТП 501-07-3.83

П 60.15  Плиты ребристые по Типовому проекту ТП 501-07-3.83.