СП 6
Характеристики изделия:
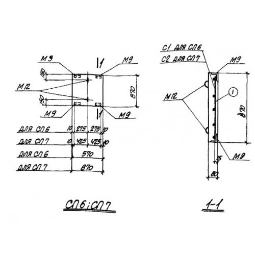
| Параметр | Значение |
|---|---|
| длина | 570 мм |
| ширина | 870 мм |
| высота | 80 мм |
| вес | 100 кг |
| серия | ТП 905-7 |
Цена:
Рассчитать стоимостьСП 6 Панели стеновые по проекту ТП 905-7.
| Параметр | Значение |
|---|---|
| длина | 570 мм |
| ширина | 870 мм |
| высота | 80 мм |
| вес | 100 кг |
| серия | ТП 905-7 |
СП 6 Панели стеновые по проекту ТП 905-7.
